系统准备(其他)\如何在系统设置具有不同模块访问权限的角色?

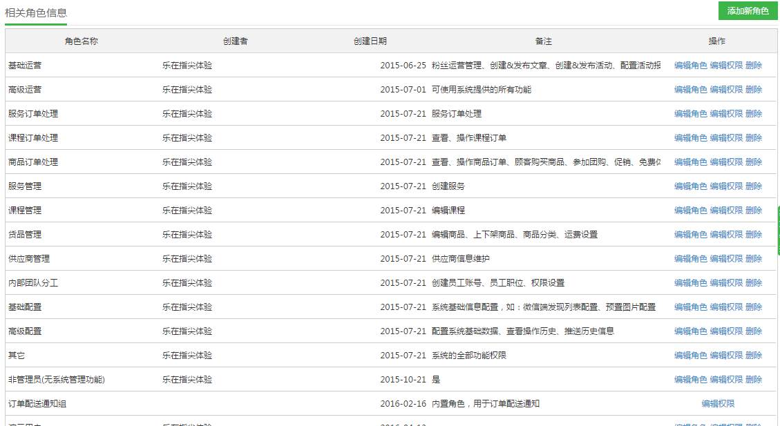
路径:后台分工>内部团队分工>设置角色权限

点击列表上方“添加新角色”,可以创建新的角色。角色创建后,点击列表中“编辑权限”按钮, 在模块权限列表中钩选所需的后台页面模块,将页面权限授权给该角色。

更多内容请查看该功能系统页面帮助文档。

 

回到页首